6810W-85SV2
| Availability: | |
|---|---|
Product Data Sheet: 6810W-85SV2 Top Leg Adapter
Part Number: 6810W-85SV2
Product Name: Adapter for 85SV2 Tooth System
The 6838L-85SV2 is a heavy-duty adapter engineered for large cable shovel dippers in extreme mining environments. It serves as the critical connection point between the dipper lip and the 85SV2 series bucket teeth, ensuring secure attachment and optimal force transmission during digging operations.
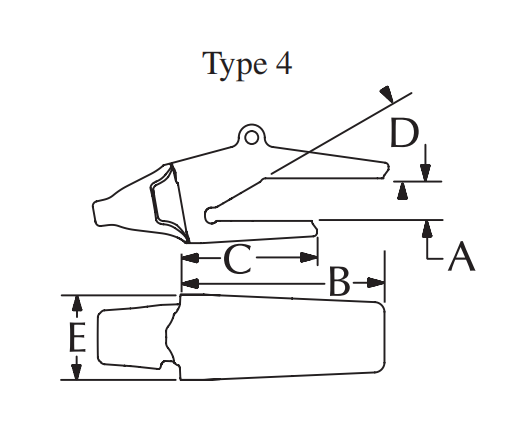
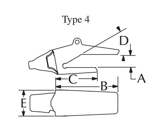
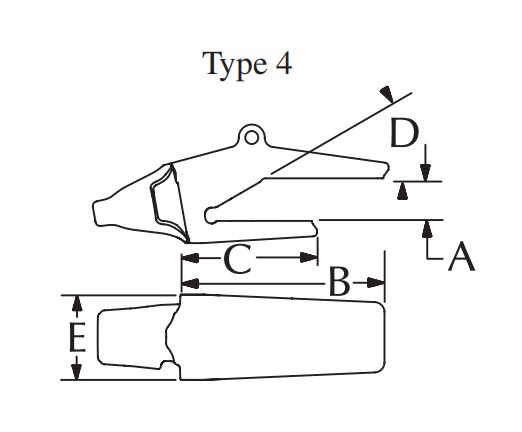
| Parameter | Description | Metric (mm) | Imperial (inch) |
|---|---|---|---|
| A | Lip Thickness | 121 mm | 4.75 inch |
| B | Top Leg | 540 mm | 21.25 inch |
| C | Bottom Leg | 329 mm | 12.95 inch |
| D | Ramp Angle | 30° | 30° |
| E | Adapter Width | 262 mm | 10.30 inch |
| Weight | Single Unit Weight | 180 kg | 396.83 lbs |
Heavy-Duty Construction: Designed to withstand extreme impact and abrasion in large-scale mining operations
Optimized Geometry: 30° ramp angle ensures smooth material flow and reduces digging resistance
Precision Fit: Engineered for perfect compatibility with 85SV2 series teeth and standard dipper lips
Secure Locking: Designed to work with standard locking systems for reliable tooth retention
Enhanced Durability: Manufactured from premium alloy steel with advanced heat treatment
Tooth System: 85SV2 series bucket teeth
Application: Large electric mining shovels and cable dippers
Industry: Surface mining, quarrying, and heavy excavation
This adapter provides the crucial link between your equipment and ground engaging tools, offering:
Reduced Downtime: Robust design minimizes failures and maintenance requirements
Improved Efficiency: Optimized geometry enhances digging performance
Long Service Life: Superior materials and manufacturing processes extend component lifespan
For installation instructions and compatible wear parts, please consult our technical documentation.
| Weld-on Adapters 85SV2 | ||||||||
| PART ID* | DESCRIPTION | A LIP THICKNESS mm/in | B TOP LEG mm/in | C BOTTOM LEG mm/in | D RAMP ANGLE deg | E ADAPTER WIDTH mm/in | WEIGHT kg/Ib | MACHINE TYPE |
| 6810W-85SV2 | 1-1/2 Top Leg | 121/4.75 | 540/21.25 | 329/12.95 | 30 | 262/10.30 | 178/393 | BACKHOE/HFS |
| 6806W-85SV2 | 1-1/2 Top Leg | 141/5.50 | 559/22.00 | 329/12.95 | 30 | 262/10.30 | 185/408 | BACKHOE/HFS |
| 6838L-85SV2 | 1-1/2 Top Leg Straddle/Crnr | 121/4.75 | 508/20.00 | 229/9.00 | 30 | 262/10.30 | 185/407 | BACKHOE/HFS |
| 6838R-85SV2 | 1-1/2 Top Leg Straddle/Crnr | 121/4.75 | 508/20.00 | 229/9.00 | 30 | 262/10.30 | 185/407 | BACKHOE/HFS |
| 6842L-85SV2 | 1-1/2 Top Leg Straddle/Crnr | 141/5.50 | 540/21.25 | 254/10.00 | 30 | 262/10.30 | 192/423 | BACKHOE/HFS |
| 6842R-85SV2 | 1-1/2 Top Leg Straddle/Crnr | 141/5.50 | 540/21.25 | 254/10.00 | 30 | 262/10.30 | 192/423 | BACKHOE/HFS |
85SV2 Points
| PART ID | DESCRIPTION | LENGTH mm/in | BIT WIDTH mm/in | BIT THICKNESS mm/in | WIDTH AT EARS mm/in | WEIGHT kg/lb |
| 85SV2CHD | Shovel Dipper Heavy NCL | 518/20.38 | 151/5.93 | 97/3.82 | 280/11.04 | 98/217 |
| 85SV2RHXL | Shovel Dipper Heavy Long CL | 572/22.52 | 208/8.20 | 98/3.86 | 280/11.04 | 117/259 |
| 85SV2RX | General Purpose CL | 458/18.02 | 208/820 | 60/2.36 | 285/11.24 | 80/176 |
| 85SV2RXL | Shovel Dipper CL | 526/20.72 | 204/8.05 | 81/3.19 | 285/11.24 | 93/206 |
| 85SV2RXXL | Shovel Dipper Long CL | 572/22.52 | 208/8.20 | 98/3.86 | 280/11.04 | 113/248 |
| 85SV2SD | Chisel CL | 526/20.72 | 128/5.04 | 26/1.03 | 285/11.24 | 82/181 |
| 85SV2VX | Penetration CL | 579/22.8 | 45/1.78 | 15/.59 | 285/11.24 | 76/167 |
Locking Pin
| PART ID | DESCRIPTION | LENGTH mm/in | WEIGHT kg/lb |
| 85SV2PN-C | SV2 PinAssembly | 152/5.98 | 1.22/2.70 |